近日记者了解到,继泰安晶优光伏有限公司状告之后,无锡尚德太阳能电力有限公司(简称“尚德电力”)又新增诉讼、执行和限制高消费信息。
诉讼信息方面,原告王某某与尚德电力的劳动合同纠纷将于3月19日在无锡市新吴区人民法院开庭。
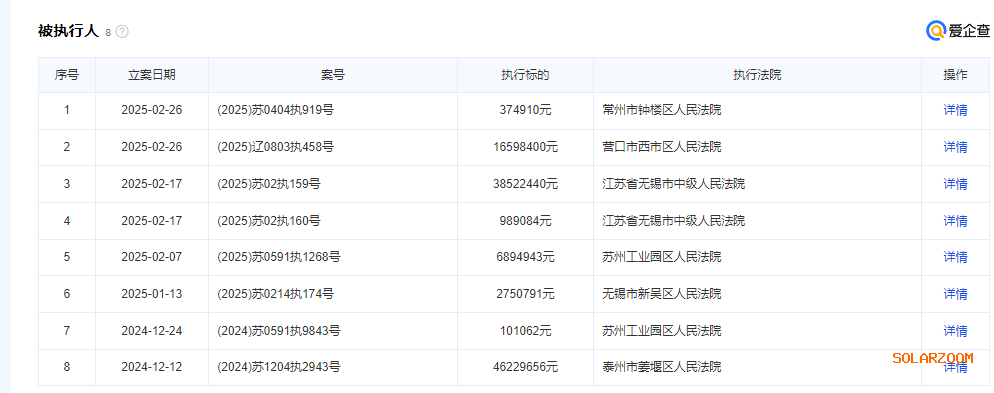
执行信息方面,2月26日1天,尚德电力新增2条执行信息,执行法院分别为常州市钟楼区人民法院和营口市西市区人民法院,执行标的各为374910元和16598400元。

立案信息显示,这两起执行案件的申请方分别为常州市金洋纸制品有限公司和营口金辰机械股份有限公司,对应的案号分别为(2025)苏0404执919号和(2025)辽0803执458号。
此外,尚德电力法定代表人何淑范在2025年1月10日和2月14日各增一条限制高消费记录,执行法院分别为泰州市姜堰区人民法院和苏州工业园区人民法院。2024年12月9日,在控股股东中国东方资产授权下,建发新能已经托管了尚德电力,且已完成了人事交接。但截至发稿时,尚德电力主要人员名单上,武飞仍为董事长。
还没有人评论过,赶快抢沙发吧!