青海2026年机制竞价结果公示:光伏0.227元/度、风电0.24元/度,电量规模14.5亿度_SOLARZOOM光储亿家
设为首页收藏本站联系我们
| | | | | | | | |
青海2026年机制竞价结果公示:光伏0.227元/度、风电0.24元/度,电量规模14.5亿度
  • 2025-12-10 15:39:57
  • 浏览:1200
  • 来自:新能源云

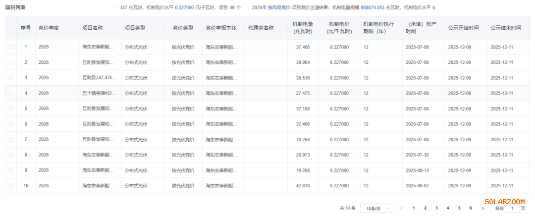
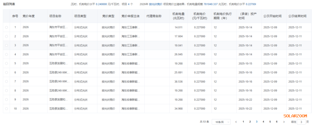
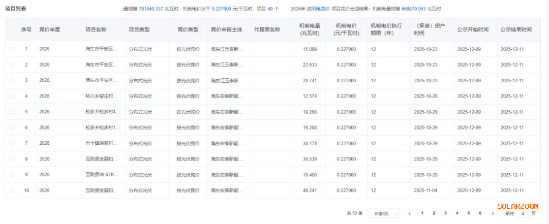
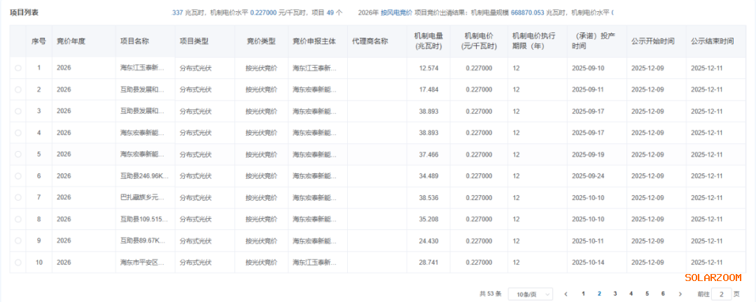
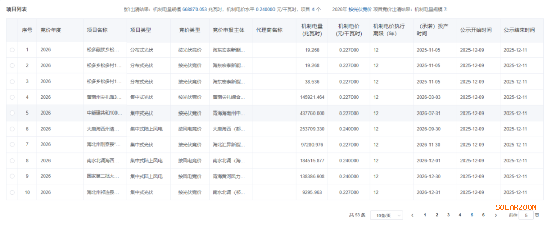
12月9日,青海公示2026年青海省新能源机制电价竞价结果。

光伏机制电价0.227元/度,入围项目49个,包含6个集中式光伏项目,机制电量规模781040.337兆瓦时。

风电机制电价0.24元/度,入围项目4个,机制电量规模668870.053兆瓦时。

【责任编辑:ada.sun】
投稿、咨询、爆料——电话:(021)50315221-812,邮箱:edit@solarzoom.com,QQ:2880163182
0条评论
还没有人评论过,赶快抢沙发吧!

匿名发表

微信公众号:
Solarzoom光伏太阳能网
微博公众号:
SOLARZOOM光伏太阳能网
  • 一天
  • 一周
  • 一月
  • 每日资讯
  • 光伏杂志
  • 专题
  • 每日光伏市场参考
马上订阅
印度商工部反倾销局(DGAD)正式公告,将对中国大陆、台湾、马来西亚等地进口的太阳能电池展开反倾销调查。同时,欧盟对中国大陆的
联系我们:021-50315221 服务邮箱:10000@solarzoom.com