宁夏一光伏企业启动破产程序!_SOLARZOOM光储亿家
设为首页收藏本站联系我们
| | | | | | | | |
宁夏一光伏企业启动破产程序!
  • 2026-02-27 08:59:33
  • 浏览:799
  • 来自: 数字新能源DNE

  记者从“全国企业破产重整案件信息网”获悉,2月24日,宁夏云皓光伏科技有限公司已进入破产程序。

  此前11月24日,银川高新技术产业开发有限责任公司向宁夏回族自治区银川市中级人民法院,申请宁夏云皓光伏科技有限公司破产,案号(2025)宁01破申52号。(相关阅读:宁夏一光伏企业被申请破产!)

  如今时隔3个月,该公司的破产申请被受理,企业正式进入破产程序。

  根据公开信息,该公司成立于2011年3月,法定代表人为赵慧明,经营范围为高纯晶体硅材料的生产、提纯及销售。

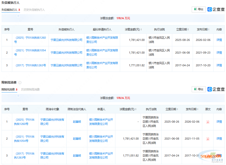
  企查查内容显示,此前在2016年7月,宁夏云皓光伏科技有限公司曾被银川高新技术产业开发总公司告上法庭,案由为租赁合同纠纷。目前该公司已被列为失信被执行人,公司及法定代表人赵慧明已被限制高消费(883434),涉案总金额为178.14万元。

【责任编辑:sunnyz】
投稿、咨询、爆料——电话:(021)50315221-812,邮箱:edit@solarzoom.com,QQ:2880163182
关键字阅读: 光伏企业 光伏发电
0条评论
还没有人评论过,赶快抢沙发吧!

匿名发表

微信公众号:
Solarzoom光伏太阳能网
微博公众号:
SOLARZOOM光伏太阳能网
  • 一天
  • 一周
  • 一月
  • 每日资讯
  • 光伏杂志
  • 专题
  • 每日光伏市场参考
马上订阅
印度商工部反倾销局(DGAD)正式公告,将对中国大陆、台湾、马来西亚等地进口的太阳能电池展开反倾销调查。同时,欧盟对中国大陆的
联系我们:021-50315221 服务邮箱:10000@solarzoom.com